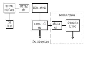
Hệ thống đấu trộn chè được sử dụng rộng rãi trong các nhà máy chế biến chè, cafe do hiệu quả cao hơn chi phí bảo trì thấp. Quá trình trộn chè, cafe cho kết quả đồng đều mà không làm mất đi màu của sản phẩm.
Tính năng:
– Thùng trộn chè kiểu quay sử dụng động cơ phanh từ cho độ chính xác, an toàn khi làm việc.
– Cánh đảo chè chính và phụ được kết hợp ưu việt cho chất lượng đồng đều sau khi trộn mà không làm bạc cánh chè.
– Kiểu tiếp chè tùy theo không gian lắp hệ thống: kiểu motoray, kiểu băng tải nghiêng, kiểu băng tải đứng…
– Thời gian hoàn thành 1 lần đấu trộn: 15÷20 phút/lần.
– Hệ thống đấu trộn được cải tiến giảm thiểu bụi chè trong quá trình trộn.
– Công suất đấu trộn tùy từng loại chè:
+Chè đen: 2,2÷4,7 tấn/giờ
+Chè xanh: 2,2÷3.6 tấn/giờ








