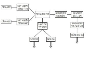
Hệ thống nghiền chè FD được thiết kế sản xuất ra chè F, DUT từ cẫng chè. Toàn bộ chè sau khi nghiền chuyển qua thùng thu chè sau đó qua sàng 766 phân tách ra từng mặt hàng yêu cầu. Một phần lớn lượng chè cánh mảnh, bụi được phân tách và thu tại các Xyclon thu chè cánh mảnh, Xyclonthu chè cánh nhẹ. Cuối cùng bụi chè được thu tại các túi Nylon trên thùng thu bụi.
Tính năng:
– Phân tách chè, bụi hiệu quả.
– Tách bụi chè trong chè nghiền hiệu quả 95%.
– Kết cấu nhỏ gọn.










