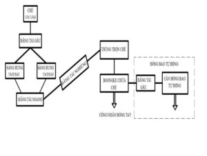
Mô tả:
Hệ thống đấu trộn chè được sử dụng rộng rãi trong các nhà máy chế biến chè, cafe do hiệu quả cao hơn chi phí bảo trì thấp. Quá trình trộn chè, cafe cho kết quả đồng đều mà không làm mất đi màu của sản phẩm.
Tính năng:
– Công suất đấu trộn được nâng gấp đôi, kết cấu gọn nhẹ giảm chi phí đầu tư.
– Hệ thống hoạt động tiếp chè liên tục, không bị gián đoạn cho năng suất cao.
– Thùng trộn kiểu quay sử dụng động cơ phanh từ cho độ chính xác, an toàn khi làm việc.
– Cánh đảo chính và phụ được kết hợp ưu việt cho chất lượng chè đồng đều sau khi trộn mà không làm bạc cánh chè.
– Hệ thống được cải tiến giảm thiểu bụi chè trong quá trình trộn.
– Công suất đấu trộn tùy từng loại chè:
+ Chè đen: 4,5÷9,5 tấn/giờ
+ Chè xanh: 4,5÷7.2 tấn/giờ









